光庭信息公告九游体育娱乐网,2025年第三季度营收为1.45亿元,同比增长16.37%;净利润为186.02万元,同比下跌92.36%。前三季度营收为4.21亿元,同比增长23.05%;净利润为4477.54万元,同比增长308.53%。
举报 第一财经告白互助,请点击这里此执算作第一财经原创,著述权归第一财经统共。未经第一财经籍面授权,不得以任何方式加以使用,包括转载、摘编、复制或拔擢镜像。第一财经保留讲究侵权者法律职守的权益。如需获取授权请探究第一财经版权部:banquan@yicai.com 相关阅读
台积电:9月吞并营收3309.8亿元新台币 同比加多31.4%台积电:9月吞并营收3309.8亿元新台币 同比加多31.4%
17 10-09 13:42
"两桶油"稳居A股2025年上半年营收前二名"两桶油"稳居A股2025年上半年营收前二名
17 08-30 12:47
16家上市公司股票获回购,财通证券回购金额最高16家上市公司股票获回购,财通证券回购金额最高
0 05-30 22:23
主力当天尾盘生意这些个股主力当天尾盘生意这些个股
0 05-30 16:01
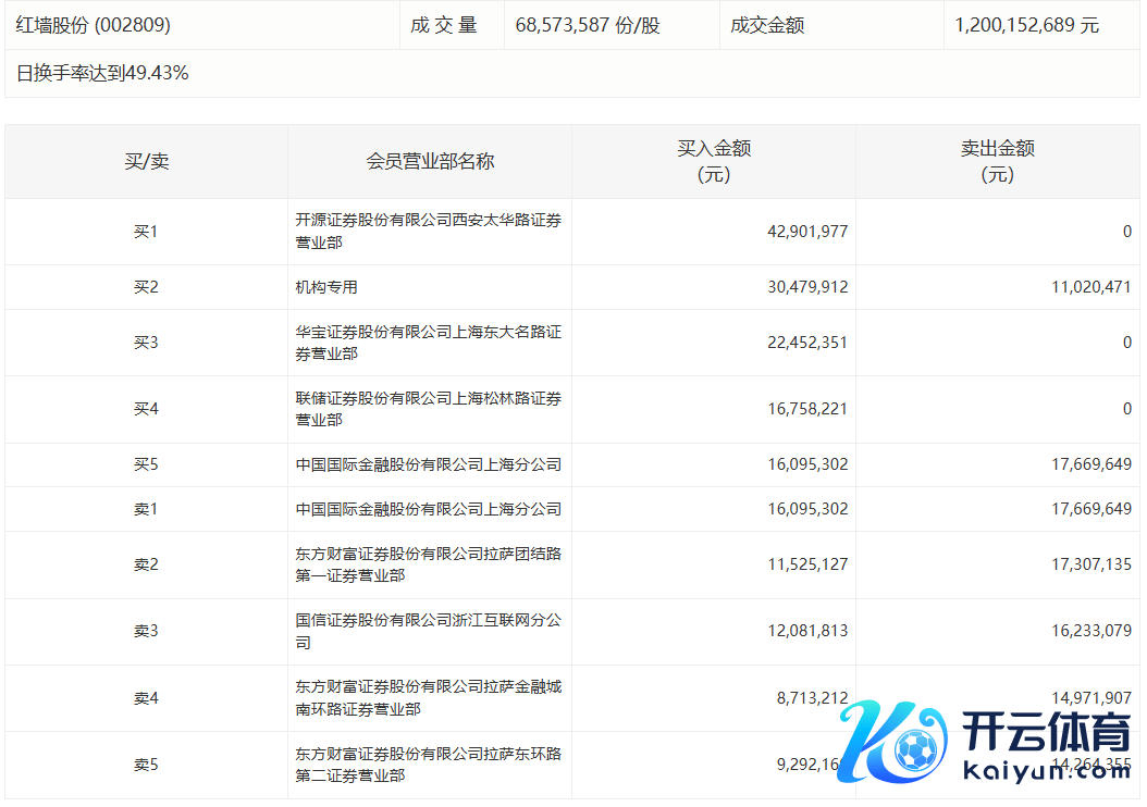
红墙股份当天涨停九游体育娱乐网,1家机构专用席位净买入1945.94万元红墙股份当天涨停,1家机构专用席位净买入1945.94万元
0 05-16 16:27 一财最热 点击关闭